Cuveti Externi TANGE 1.1/8" Silver

TANGE
192,50 RON
5 In stoc
Limita stoc
Adauga in cos
Cod Produs: 390344
Adauga la Favorite Cere informatii
  • Descriere
  • Review-uri (0)
  • Aluminiu Negru 
  • Greutate 85 Grame(fara capac) 
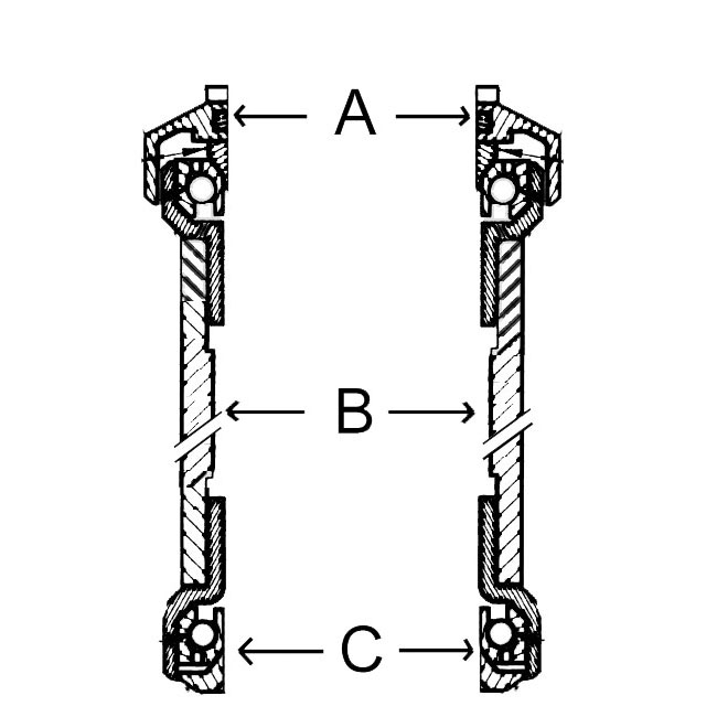
  • SHIS ; ZS34/28,6|ZS34/30 
  • A =28,6 MM(diametru interior la cap ) 
  • B= 34 MM(diametrul interior cadru) 
  • C= 30 MM(diametrul la baza gatului de furca)
Informatii conformitate produs
Daca doresti sa iti exprimi parerea despre acest produs poti adauga un review.

Review-ul a fost trimis cu succes.

Compara produse

Trebuie sa mai adaugi cel putin un produs pentru a compara produse.

A fost adaugat la favorite!

A fost sters din favorite!